• -35%
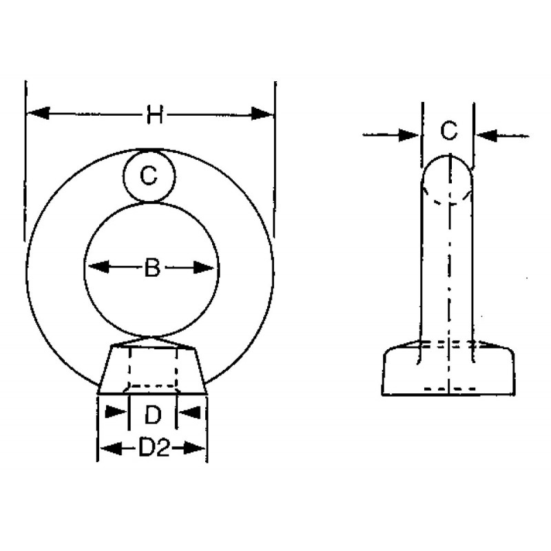
AISI 316 rustfritt stål hunn-sirkulær øyebolt med gjenget hull
AISI 316 rustfritt stål hunn-sirkulær øyebolt med gjenget hull

AISI 316 rustfritt stål hunn-sirkulær øyebolt

Med gjenget hull.

Alternative produkter

Dettagli Aggiuntivi

Product added to wishlist